Handle, Inside - Nissan (80671-5MP5A)

Handle, Inside - Nissan (80671-5MP5A)

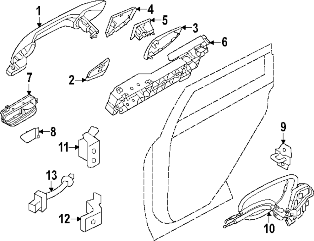
Part can be found as reference #7 in illustration

Handle, Inside - Nissan (80671-5MP5A)

Genuine Nissan Parts
Nissan Parts
  • Nissan
  • 80671-5MP5A

Details

  • Brand:

     Parts

  • SKU:

    80671-5MP5A

  • Positions: Left
  • Other Names:

    Handle Assembly-Door Inside, Left-hand

  • Condition: New
  • MSRP*: $88.67
  • Discount: $20.39 (23% off)
  • Your Price: $68.28
OR
Genuine Nissan Parts
Nissan Parts
  • Nissan
  • 80671-5MP5A

Details

  • Brand:

     Parts

  • SKU:

    80671-5MP5A

  • Positions: Left
  • Other Names:

    Handle Assembly-Door Inside, Left-hand

  • Condition: New

Vehicle Fitment

Vehicle Fitment
Year Make Model Body & Trim Engine & Transmission
( more fitments)
No fitment data available

Ingram Park Nissan Parts

Searching for somewhere you can trust purchasing genuine parts and accessories for your Nissan vehicle online? You've come to the right place! 

Ingram Park Nissan Parts is your go-to online retailer for original Nissan parts and accessories. Use our VIN search feature to find parts that perfectly match your vehicle.  

Have questions about a part? Contact us today!

Nissan

OEM Nissan Parts and Accessories